我院首次“1+X失智老年人照护职业技能等级证书考试”喜获佳绩
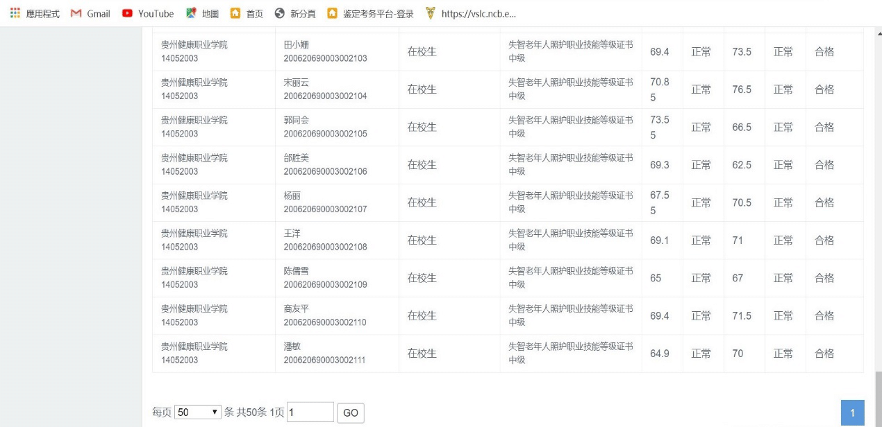
近日,1+X失智老年人照护全国统一考试成绩公布,我院蔡孟璇等50名同学全部通过1+X失智老年人照护中级证书考试,考试通过率为100%,圆满完成了省教育厅批复的50名学生考证任务。
自2019年12月我院成功入选教育部“1+X证书”失智老年人照护证书试点院校以来,学院高度重视,成立了“1+X证书”工作领导小组,印发了《beat365在线唯一官网登录1+X失智老年人照护试点工作实施方案》等相关文件,先后多次召开专题会议,要求各相关职能部门要以“撸起袖子加油干”的强烈使命感和责任心,贯彻落实此项试点工作。在各相关职能部门的通力协作下,我院取得优异的成绩。
此次考试成绩是对我院“1+X证书”试点工作的检验和肯定,我院将以此次培训考试为起点,继续为养老服务事业培养更多优秀专业人才。
